2023年1-6月教室照明项目中标约5.37亿,广东位居第一!
2023-07-20 15:14:01
随着防疫政策放松,国内经济建设重心调整,随后是2023年省级两会落下帷幕,教室照明改造被多地列入政府民生实事项目,再结合多地要求“2023年底前完成教室照明改造”的相关政策来看,2023年将迎来教育照明行业爆发期。
如今已是七月中旬,那么,上半年教室照明状况又是如何?中照网以“教室照明、光环境、教室灯光、护眼”等关键词进行大数据分析,1-6月全国至少有26个地区发布了教室照明项目,落地项目累积约172个,中标金额合计53791.81万元(中标金额100万元以上)。
广东省教室照明落地项目位于榜首
从中标次数看,整体上教室照明落地项目呈上升状态。5、6月份落地项目数量相对较多,其中,6月为上半年落地项目最多71个。另外,随着防疫政策放松,今年上半年落实项目相对去年上半年同比增长112%。

从中标金额来看,整体上处于稳步上升,除3月份以外。6月中标总金额为20193.34万元,为上半年最高;5月中标金额为11925.67万元,上半年第二。

区域分布来看,广东为教室照明落地项目最多的地区,其次是山东和北京。此外,江苏、江西、四川、陕西、新疆、福建、河南也是全国教室照明落地项目十强。

按地域中标总金额分布来看,中标总金额排在第一位的是广东省,中标金额为9636.47万元,排在第二、三位的地区是山东省和江西省,中标总金额分别为8481.99万元和5768.37万元。此外,四川省、江苏省、北京市、海南省、河南省、陕西省、上海市为全国中标总金额名前十的省份,值得供应商关注。

单项中标最高金额3499.04万元,江苏移动信息中标数量最多根据数据显示,上半年仅有11个教室照明项目金额超过一千万,分别为《福田区公办学校教学光环境提升项目》、《赣州市南康区中小学校教室照明达标升级》、《海南省普通高中教室照明改造项目》、《山东省淄博市沂源县全县中小学校教室照明改造升级和可调节课桌椅更新配备项目》、《义务教育薄弱环节改善与能力提升项目-中小学教室灯光照明设备改造项目其他办公设备采购项目》、《鲁山县教育体育局公办寄宿制学校教室照明项目》、《神木市中小学教室护眼灯改造项目》、《2022年度任城区中小学教室照明提升项目》、《江安县义务教育学校教室照明改造及运维服务项目》、《中小学校教室照明改造项目室内照明灯具采购项目》、《阳山县中小学教室照明改造项目》。

此外,上半年教室照明项目中标数量最多的企业为江苏移动信息系统集成有限公司,分别拿下《宿迁市宿城区义务教育学校教室照明改造项目》、《金湖县教育体育局教室照明提升项目》、《教室照明改造标段三合同》三个项目。
通过以上数据可以看到,上半年教室照明落地项目主要分布在广东、山东、江苏、北京、江西五个地区,其中,广东省为教室照明落地项目最多。据了解,深圳市2023年新改扩建中小学、幼儿园182所;珠海市香洲区将投入3000万元完成全区学校教室、功能室灯光照明改造。由此可见,未来广东省教室照明项目仍然值得工程公司和供应商持续关注。另外,中西部省份对教室照明设备采购需求增强,在未来教室照明市场仍然存在较大发展潜力。此外,有相关行业人士称教育照明市场规模预计将由2018年的220.1亿元增加至2025年的688.3亿元,期间年复合增速将达17.68%。
正在招标总金额约13035.44万元,意向采购金额8684.45万元
近期,随着全国各地政府陆续公布放假时间,随之教室照明相关的项目源源不断地发布。
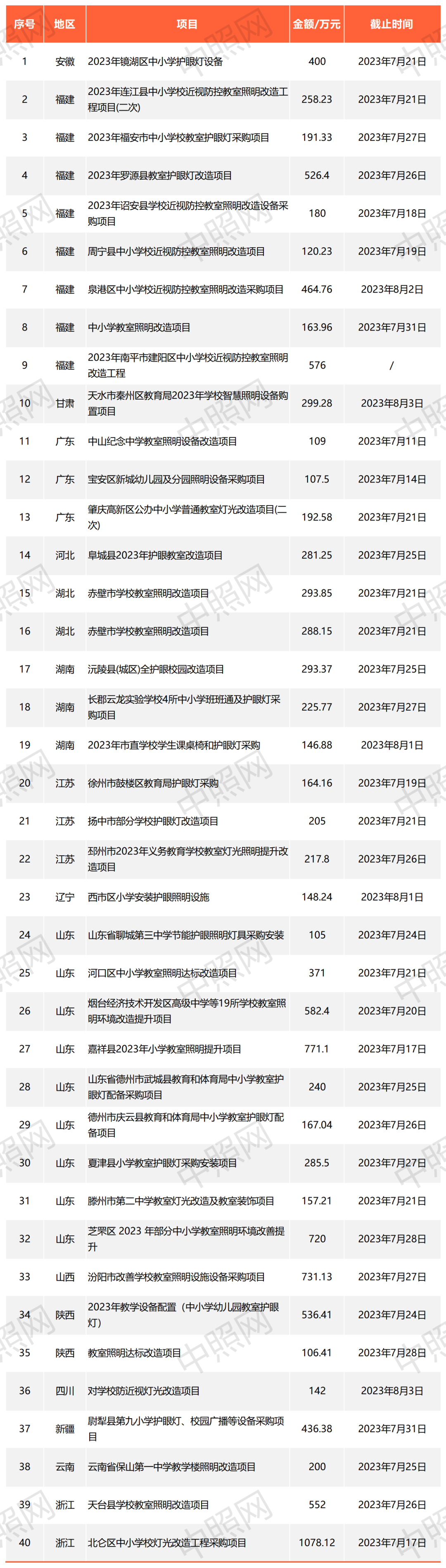
目前,正在招标中共有40个,合计金额约13035.44万元。招标项目中超过4个项目金额在六百万元上,分别为《嘉祥县2023年小学教室照明提升项目》、《芝罘区 2023 年部分中小学教室照明环境改善提升》、《汾阳市改善学校教室照明设施设备采购项目》、《北仑区中小学校灯光改造工程采购项目》。

据统计目前共有25个教室照明政府意向采购项目,投资总金额约8684.45万元。

最新更新
发表评论 取消回复